Twisted Tungsten heater electric vacuum parts
Twisted Tungsten heater electric vacuum parts, colorful or black and white kinescopes, aluminum spraying, plastic spraying...
Key Specifications/Special Features:
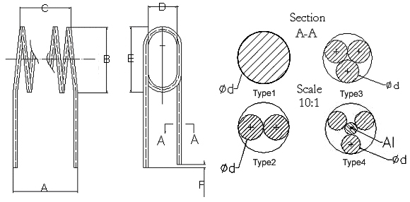
Tungsten heater (tungsten coil,tungsten spiral,vm coil)made of tungsten wire features high melting point and high corrosion resistance, mainly applied for vacuum metallizing, such as chrome scope, mirrors, plastics and heater elements for decoration articles. Tungsten heater can be stranded into single or multi wires. Forming is done according to the samples or drawings of the customers; both pure wire and doped wire are available

If you need any more details of the above news and/or products, please visit Chinatungsten Online, or contact us directly.
Disclaimer: The article is only reflecting the opinions of the author. We have no responsibility to prove the originality and authenticity of the content, words and/or pictures. You readers should just take it as reference and check the details by yourselves. And the content is not a suggestion for investment decision. The investor takes his or her own risks if he or she operates accordingly. If you have any dissent about the contents above, please contact the relevant author, or the webmaster. We will try our best to assist the dealing of the related issues. Thanks for your visit and cooperation.
|